15388069302
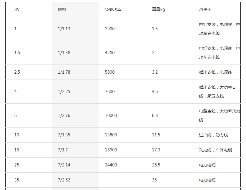
BVR線,簡稱塑銅軟線,全稱銅芯聚氯乙烯絕緣軟電線。適用于交流電壓450/750V及以下動力裝置、日用電器、儀表及電信設備用的電纜電線。
BV線和Bvr線的區(qū)別:粗絲和細絲的區(qū)別,硬軟區(qū)別,截面積相同情況,負載功率相同,bvr價格稍高于bv價。
BV是由一根或者幾十根粗銅絲構(gòu)成的導體,整體偏硬,適合使用在主線或者支線。
BVR是幾十或者上百根細銅絲構(gòu)成的導體,整體偏軟,適合使用在支線或者有接線口,電源端口的插座或者電器上。
家裝電線網(wǎng)上報價,家裝電線網(wǎng)上價格,家用電線價格,bvr網(wǎng)上價格,bvr網(wǎng)上報價請參考三湘電纜阿里巴巴商店!
https://sxdl88.1688.com/page/offerlist_128656140.htm?spm=a2615.7691456.autotrace-categoryNavNew.2.6d5214b8YRhG9f

